КРО комплексы ремонтного освещения взрывозащищенные

Скачать PDF

Назначение: Для внутреннего освещения/Взрывозащищенные, Переносные/Передвижные

Цена (без учета НДС): По запросу руб.

Описание

Взрывозащищенные комплексы ремонтного освещения КРО предназначены для освещения как помещений, так и открытых площадок промышленных объектов, где возможно присутствие взрывоопасных сред. Область применения - предприятия химической, нефтеперерабатывающей, газовой и других отраслей промышленности, а также объекты морского транспорта, взрывоопасные зоны помещений и наружных установок согласно маркировке взрывозащиты, зоны, опасные по воспламенению горючей пыли I, II, III, IV классов опасности.

Функциональные характеристики позволяют использовать КРО для решения большого спектра задач. КРО состоит из изделий с видом взрывозащиты 1ExdIIC, в его комплектность могут входить: шкаф управления типа ШУС с блоком питания, удлинители, светильники с установленными переносными рукоятками или подвесными крюками. 

Условия эксплуатации ремонтных комплексов КРО следующие:

  • Высота над уровнем моря - до 2000 м.
  • Температура окружающей среды: от -60°С до +50°С.
  • Относительная влажность воздуха при температуре 35°С: 100%.

Комплексы КРО состоят из следующих основных узлов:

  • Стационарный шкаф управления типа ШУС с встроенным блоком питания.
    Шкаф управления предназначен для обеспечения подвода питания группе светильников со следующими параметрами: 230АС\12DC; 230АС\24DC; 230АС\36DC.
    Блок питания состоит из следующих основных узлов:
    • Оболочки ОЭАА-ВЭЛ.
    • Встроенного блока питания: 230АС\12DC; 230АС\24DC; 230АС\ 36DC.
    • Соединительной розетки или розеток типа CВ-ВЭЛАН-Р.
  • Взрывозащищенный удлинитель на катушке.
    Удлинители предназначены для подключения мобильного оборудования, переносного осветительного оборудования, различных электрических агрегатов, установок и машин между собой к источникам электрической энергии.
    Удлинители состоят из следующих основных узлов:
    • Рамы.
    • Барабана со встроенными стационарными розетками типа CВ-ВЭЛАН-Р.
    • Распределительной коробки ВАД-РСП-D.
    • Кабеля с ответной частью (вилка CВ-ВЭЛАН-Р на конце для присоединения к источнику питания).
    • Включение соединителей производится путем вставки вилки в розетку и поворотом ее на 45° по часовой стрелке, что дает возможность замкнуться внутреннему выключателю.
      Вынуть вилку из розетки можно только тогда, когда переключатель находится в положении «OFF». Контакт заземления и его гнездо больше, чем остальные контакты и гнезда.
      На время транспортирования и хранения внутренняя полость розетки закрывается крышкой, которая защищает изделие от пыли и влаги, а взрывозащитные поверхности от повреждения. Крышка посредством цепочки крепится к корпусу. При эксплуатации удлинителя должны быть предусмотрены меры для защиты кабеля от повреждений. 
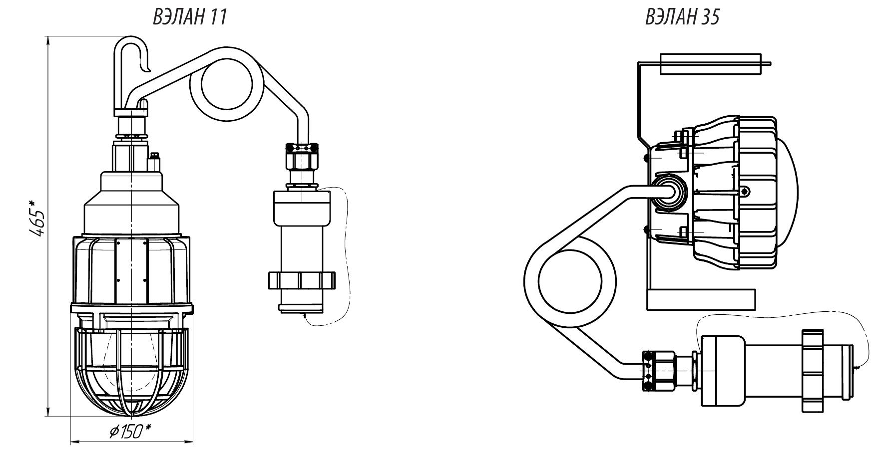
  • Взрывозащищенные светильники.
    Проработаны стандартные решения применения в КРО светильников с переносными рукоятками или подвесными крюками на базе светильников типа ВЭЛАН35 со светоизлучающими диодами (СИД) и светильников  ВЭЛАН11 для цокольных ламп Е27. Светильники могут быть укомплектованы отрезком кабеля с соединительной вилкой на конце, длина кабеля указывается при заказе.
    Светильники для КРО предназначены для общего освещения взрывоопасных зон и могут состоят из следующих узлов:
    • Непосредственно самого светильника.
    • Отрезка кабеля.
    • Соединительной вилки.

Структура заказа комплекса ремонтного освещения КРО

КРО-ШУСА-ВЭЛ1 Х1-(Х2)хХ3

КРО – комплекс ремонтного освещения

ШУСА-ВЭЛ1 – тип и габарит применяемого шкафа управления

Х1 – применяемый блок питания: 230АС/12DC, 230АС/24DC, 230АС/36DC.

Х2 – дополнительное оборудование, необходимое для подключения к блоку питания:

      – розетка взрывозащищенная типа СВ-ВЭЛАН-Р-16-250-3В1 или другая по запросу (в формулировке розетка записывается в сокращенном виде "Р-16-250-3В1");

      – кабельный ввод (в формулировке ввод записывается в сокращенном виде, например: "С-2БМ-М25").

Х3 – количество дополнительного оборудования: 1,2,3

Пример формулировки заказа: КРО-ШУСА-ВЭЛ1-230АС/12DC-(Р-16-250-3В1)х2

Что обозначает взрывозащищенный комплекс ремонтного освещения КРО с понижающим блоком питания 230АС/12DC и двумя розетками СВ-ВЭЛАН-Р-16-250-3В1.

 

КРО-Х1хХ2-Х3 Х4(Х5)-Х6-Х7

КРО – комплекс ремонтного освещения

Х1 – количество светильников 1,2,3 (при использовании 1 светильника индекс не указывается).

Х2 – светильник взрывозащищенный типа: ВЭЛАН11 (поставляется с креплением на крюке); ВЭЛАН35 (оставляется в переносном исполнении); СВП.

Х3 – тип применяемой лампы (зависит от выбранного светильника): Л.НАК.- лампа накаливания; ЭНСБ.Л.- энергосберегающая компактная люминесцентная лампа; СД.Л.- светодиодная лампа.

Х4 – мощность используемой в светильнике лампы (Вт).

Х5 – напряжение питания и тип тока: 12 DC, 24 DC, 36 DC.

Х6 – длина кабеля в метрах (при отсутствии индекса светильник поставляется без кабеля). При заказе комплекса из нескольких светильников с кабелем их длины указываются через дробь, для кабеля с вилкой индекс указывается с буквой "В" (Х6/Х61/Х62/Х6В).

Х7 – дополнительное оборудование: наличие взрывозащищенного соединителя типа СВ-ВЭЛАН-В-16-250-3В1 (в формулировке вилка записывается в сокращенном виде "В-16-250-3В1"), наличие подключения к блоку питания (в формулировке записывается как ШУСА-ВЭЛ-1-230АС/Х5). При отсутствии индекса светильник поставляется без дополнительного оборудования.

Примеры формулировки заказа:

КРО-ВЭЛАН35-СД.Л.8(24DC)-25-В-16-250-3В1

Что обозначает один взрывозащищенный светодиодный светильник ВЭЛАН35 мощностью 8 Вт, с напряжением питания 24DC, в комплекте с кабелем длиной 25 м и вилкой СВ-ВЭЛАН-В-16-250-3В1.

КРО-3хВЭЛАН11-СД.Л.10(12DC)-(10/15/12/10В)-В-16-250-3В1

Что обозначает три взрывозащищенных светильника ВЭЛАН11 со светодиодными лампами мощностью 10 Вт, с напряжением питания 12DC, в комплекте с кабелями длиной 10 м до первого светильника, 15 м до второго, 12 м до третьего, 10 м до вилки СВ-ВЭЛАН-В-16-250-3В1.

 

Габаритные размеры комплекса КРО

Стационарный шкаф управления ШУС с встроенным блоком питания

 

Взрывозащищенный удлинитель на катушке

 

Взрывозащищенные светильники

Технические характеристики

Маркировка взрывозащиты 1ExdIICT4, 1ExdIICT5, 1ExdIICT6, ExtbIIICТ80°С(Т95°С,Т135°С)Db
Климатическое исполнение (диапазон рабочих температур) -60...+50°С
Исполнение по степени защиты IP65, IP66

Стандартный комплект поставки

КРО могут комплектоваться по требованию заказчика:

  • Различными видами и типоразмерами светильников, а также их количеством.
  • Удлинителями на токи до 32 А со встроенными розетками типа СВ-ВЭЛАН-Р (до 3 шт.), а также может варьироваться количество самих удлинителей.
  • Различными видами шкафов типа ШУС c блоками питания, в зависимости от напряжения питания и мощности потребителей, количеством встроенных розеток в корпус.

© ТД СВЕТИЛЬНИК - осветительные приборы, 2026

WebCanape - быстрое создание сайтов и продвижение

Яндекс.Метрика
Вы выделили текст на сайте td-svetilnik.ru