ГО73 прожекторы взрывозащищенные

Скачать PDF

Назначение: Для внутреннего освещения/Взрывозащищенные

Напряжение питания: ≈ 220 В

Потребляемая мощность: 400 Вт, 1000 Вт

Тип источника света: Лампа дуговая ртутная ВД металлогалогенная (ДРИ)

Световой поток: 35000 лм, 85000 лм

Цена (без учета НДС): По запросу руб.

Описание

Взрывозащищенные прожекторы ГО73 используются на объектах с взрывоопасностью по газу и пыли всех классов, в соответствии с маркировкой взрывозащиты. Устанавливаются в качестве источника освещения во внутренних помещениях промышленных и производственных предприятий. Прожекторы подходят для нефтяной, газовой, нефтехимической, химической, лакокрасочной, деревообрабатывающей и других отраслей.

Детали корпуса осветительного прибора ГО73 изготовлены из нержавеющей стали и соединяются с крышкой при помощи четырех замков шарнирного типа. Лампу от внешних воздействий защищает светопропускающий элемент из закаленного стекла. Внутренний отражатель выполнен из анодированного алюминия. Отдельно вынесенный пускорегулирующий аппарат ПРА (ЭмПРА) размещен во взрывозащищенном корпусе с видом взрывозащиты «nR». Угол поворота прожектора ГО73 регулируется в диапазоне -45...+45°. Конструкция прибора соответствует требованиям ГОСТ Р МЭК 60079-0, ГОСТ Р МЭК 60079-15.

Технические характеристики

Коэффициент мощности >0,8
Коэффициент полезного действия 60%
Тип патрона E40
Материалы изготовления Нержавеющая сталь, анодированный алюминий, закаленное стекло
Электроподключение Прямое подключение к клеммам колодки блока ПРА
Диаметр подводимого кабеля 9...16 мм
Сечение подсоединяемых жил 2,5 мм2
Наличие пускорегулирующего устройства ЭмПРА
Маркировка взрывозащиты 2ExnRIIT2, 2ExnRIIT3
Класс защиты от поражения электрическим током I
Группа механического исполнения М2
Климатическое исполнение (диапазон рабочих температур) УХЛ1
Исполнение по степени защиты IP65
Габаритные размеры ГО73-400-01 - 500х377 мм
ГО73-1000-03 - 631х465 мм
Вес ГО73-400-01 - 18,5 кг
ГО73-1000-03 - 34,5 кг

Структура обозначения, пример заказа

ГО
73
400
03

Номер модификации (см. таблицу "варианты исполнения")

Мощность лампы (400 или 1000 Вт)

Номер серии

Обозначение модели

Варианты исполнений

Обозначение

Источник света

Наличие ПРА

Cos ф, не менее

КПД %, не менее

Габариты, не более, мм

Масса, не более, кг

Тип

Мощность (световой поток, Лм)

Цоколь

ГО73-400-01

ДРИ

400 (35000)

Е40

ЭмПРА

0,8

60

500х377

18,5

ГО73-1000-03

ДРИ

1000 (85000)

Е40

ЭмПРА

0,8

60

631х465

34,5

 

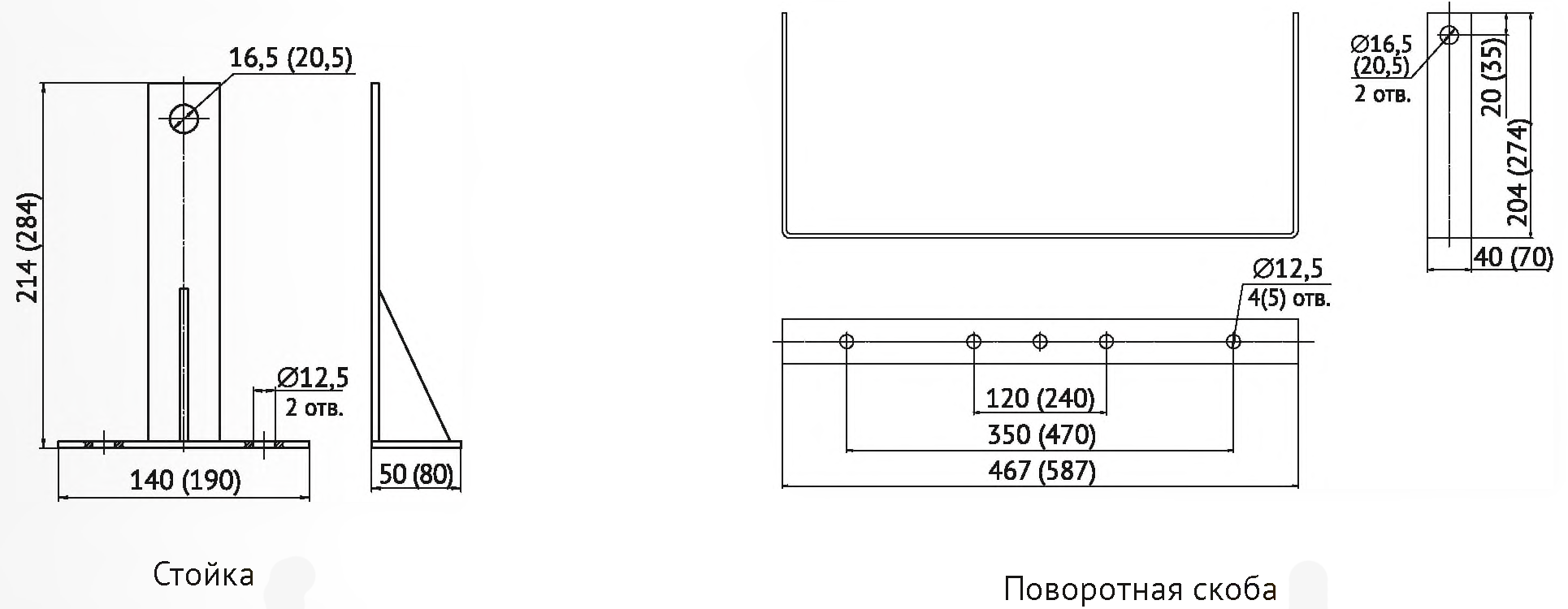
Габаритные и присоединительные размеры светильников ГО73

 

Варианты установки

 

Стандартный комплект поставки

  • Прожектор ГО73 - 1 шт.
  • Блок ПРА с кабельным вводом - 1 шт.

Дополнительная комплектация, опции

  • Стойки крепления - 2 шт.
  • Поворотная скоба - 1 шт.
  • Лампа.

© ТД СВЕТИЛЬНИК - осветительные приборы, 2026

WebCanape - быстрое создание сайтов и продвижение

Яндекс.Метрика
Вы выделили текст на сайте td-svetilnik.ru